-
202304-19FL圆法兰轴承如何更换?拆卸及安装方法
FL圆法兰轴承在遇见精度下降、噪音增大、磨损锈蚀等故障时,需要根据现场情况及需求判断是否需要更换新的轴承,那么FL圆法兰轴承如何更换?今天洛克威尔小编就来为大家简单讲讲常州FL圆法兰轴承的拆卸及安装方法吧···
-
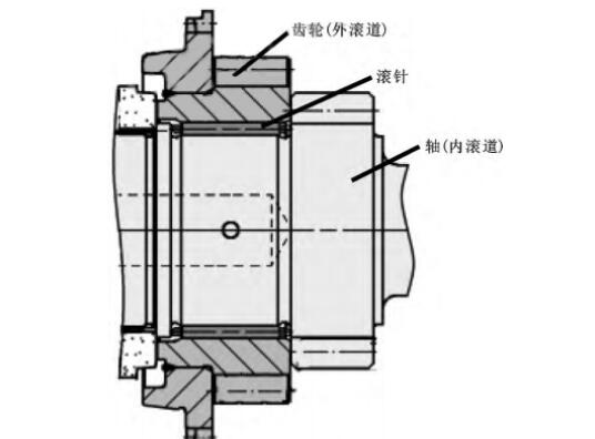
202304-19滚针轴承额微动磨损和那些因素有关?
在变速器中,滚针轴承的作用是支撑轴上的游动齿轮。其中,轴的外径相当于滚针轴承的内滚道,齿轮的内孔相当于滚针轴承的外滚道,内、外滚道与滚针和保持架一起组成了一个完整的滚针轴承。微动磨损是滚针轴承的主要失效形式之一,通常滚针的硬度比互相配合的轴外圆和齿轮内孔硬度略高,所以微动磨损通常会发生在与滚针接触的齿轮内孔或轴的外圆部位···

